您当前的位置:首页 >政务公开 >政府信息公开目录 >基层政务公开专栏 >社会救助领域基层政务公开 >服务指南

[ 索引号 ] 11500234008646287L/2025-00112 [ 发文字号 ]
[ 主题分类 ] 民政、乡村振兴、救灾 [ 体裁分类 ] 其他
[ 发布机构 ] 开州区民政局 [ 有效性 ]
[ 成文日期 ] 2025-12-11 [ 发布日期 ] 2025-12-11

重庆市开州区特困人员救助供养办理指南

重庆市开州区特困人员救助供养办理指南

    一、办理条件

同时具备以下条件的老年人、残疾人和未成年人,应当依法纳入特困人员救助供养范围:(一)无劳动能力,160周岁以上的老年人;2、未满16周岁的未成年人;3、残疾等级为一、二、三级的智力、精神残疾人,残疾等级为一、二级的肢体残疾人,残疾等级为一级的视力残疾人;(二)无生活来源;(三)无法确定赡养、抚养、扶养义务人或者其法定义务人无履行义务能力。

二、申请材料

申请特困人员救助供养,应当由本人向户籍所在地乡镇人民政府(街道办事处)提出书面申请。本人申请有困难的,可以委托村(居)民委员会或者他人代为提出申请。

申请材料主要包括:(1)本人有效身份证明;(2)劳动能力、生活来源、财产状况以及赡养、抚养、扶养情况的书面声明;(3)承诺所提供信息真实、完整的承诺书;(4)残疾人应当提供中华人民共和国残疾人证。

申请人及其法定义务人应当履行授权核查家庭经济状况的相关手续。

三、2025年特困人员救助供养标准

    特困人员基本生活标准为每人每月1001元。生活照料护理补贴标准为全护理每人每月500元、半护理每人每月300元、全自理每人每月100元。

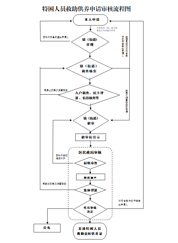
四、办理流程


    五、办理时间


工作日(周一至周五,法定节假日除外):

9:00-12:00、14:00-18:00。

六、办理地点

户籍所在地的乡(镇)人民政府、街道办事处。

七、联系方式

重庆市开州区民政局社会救助科 023-52285208、023-52285209。

扫一扫在手机打开当前页

微博

微信

部门街镇

无障碍

安全生产举报

市政府部门网站

区县政府网站

开州区部门镇街网站

新闻媒体网站